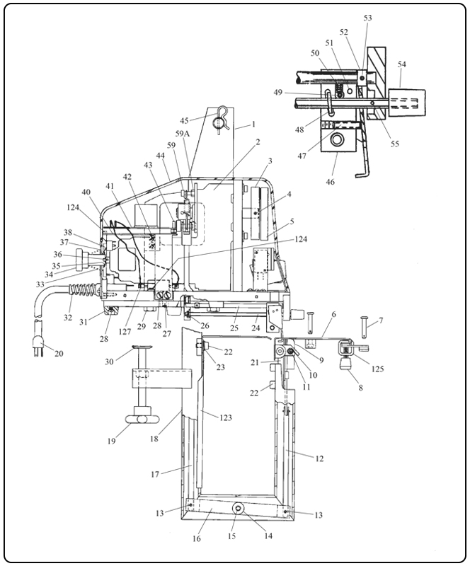
BinderyMate 405 Stitcher Machine (Figure 1)
Click part numbers in the diagram for product pages

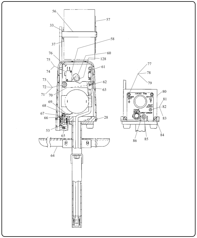
BinderyMate 405 Stitcher Machine (Figure 2)
Click part numbers in the diagram for product pages

BinderyMate 405 Stitcher Machine (Figure 3)
Click part numbers in the diagram for product pages
